ZT型軌道平移滑車裝置時我公司參考國外先進工藝,根據我國眾多廠家實際使用情況而研制改進的一種國際流行的輕型物料懸掛輸送系統。它是以各種聯接件將軌道安裝在工作框架上,通過軌道內的滑車運行來實現物料的懸掛和移動。
該滑車裝置適用于汽車、家用電器、機械制造等行業的流水線生產,特別是在汽車焊裝和總裝線上有著廣泛的應用。
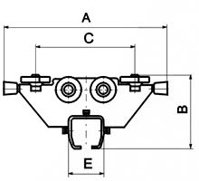
產品名稱:π型聯接件
產品型號:ZT-Jπ40 65 80
我公司生產的π型聯接件用于軌道與工字鋼的聯接與固定。
技術參數:

結構尺寸
|
A
|
C
|
B
|
E
|
承載量Kg
|
型號
|
12#
|
14#
|
16#
|
18#
|
20#
|
|
|
|
|
ZT-Jπ40
|
125
|
|
|
|
|
14
|
53
|
54
|
300
|
ZT-Jπ65
|
125
|
130
|
140
|
150
|
160
|
22
|
80
|
84
|
800
|
ZT-Jπ80
|
|
130
|
140
|
150
|
160
|
25
|
100
|
100
|
1500
|
產品名稱:縱軌導輪滑車
產品型號:ZT-DLX80-65
ZT型軌道平移滑車裝置時我公司參考國外先進工藝,根據我國眾多廠家實際使用情況而研制改進的一種國際流行的輕型物料懸掛輸送系統。它是以各種聯接件將軌道安裝在工作框架上,通過軌道內的滑車運行來實現物料的懸掛和移動。
該滑車裝置適用于汽車、家用電器、機械制造等行業的流水線生產,特別是在汽車焊裝和總裝線上有著廣泛的應用。
我公司生產的縱軌導輪滑車主要用于橫軌的懸吊和移動。
技術參數:

型號
|
A
|
B
|
C
|
E
|
承載力Kg
|
備注
|
ZT-DLX40-40
|
210
|
95
|
152
|
54
|
250
|
用于40縱軌下掛40橫軌
|
ZT-DLX65-65
|
360
|
152
|
226
|
80
|
500
|
用于65縱軌下掛65橫軌
|
ZT-DLX65-80
|
360
|
167
|
226
|
100
|
500
|
用于65縱軌下掛80橫軌
|
ZT-DLX80-65
|
393
|
152
|
266
|
80
|
1000
|
用于80縱軌下掛65橫軌
|
ZT-DLX80-80
|
393
|
167
|
266
|
100
|
1000
|
用于80縱軌下掛80橫軌
|
|
產品名稱:T型軌道接頭產品型號:ZT-JT40 65 80
ZT型軌道平移滑車裝置時我公司參考國外先進工藝,根據我國眾多廠家實際使用情況而研制改進的一種國際流行的輕型物料懸掛輸送系統。它是以各種聯接件將軌道安裝在工作框架上,通過軌道內的滑車運行來實現物料的懸掛和移動。
該滑車裝置適用于汽車、家用電器、機械制造等行業的流水線生產,特別是在汽車焊裝和總裝線上有著廣泛的應用。
我公司生產的T型軌道接頭用于軌道之間的聯接,以增強軌道的使用強度。
技術參數:

型號
|
A
|
C
|
E
|
承載力Kg
|
ZT-JT40
|
55
|
14
|
48
|
500
|
ZT-JT65
|
80
|
22
|
72
|
1000
|
ZT-JT80
|
100
|
25
|
94
|
1500
|
|
|
產品名稱:焊機吊具產品型號:ZT-HD63 90 123
ZT型軌道平移滑車裝置時我公司參考國外先進工藝,根據我國眾多廠家實際使用情況而研制改進的一種國際流行的輕型物料懸掛輸送系統。它是以各種聯接件將軌道安裝在工作框架上,通過軌道內的滑車運行來實現物料的懸掛和移動。
該滑車裝置適用于汽車、家用電器、機械制造等行業的流水線生產,特別是在汽車焊裝和總裝線上有著廣泛的應用。
我公司生產的焊機吊具,主要用于焊機的懸吊。
技術參數:

型號
|
L
|
A
|
ZT-HD63
|
630-930
|
50
|
ZT-HD90
|
900-1400
|
50
|
ZT-HD123
|
1230-1630
|
100
|
|
產品名稱:端蓋及緩沖器產品型號:ZT-W40 65 80
ZT型軌道平移滑車裝置時我公司參考國外先進工藝,根據我國眾多廠家實際使用情況而研制改進的一種國際流行的輕型物料懸掛輸送系統。它是以各種聯接件將軌道安裝在工作框架上,通過軌道內的滑車運行來實現物料的懸掛和移動。
該滑車裝置適用于汽車、家用電器、機械制造等行業的流水線生產,特別是在汽車焊裝和總裝線上有著廣泛的應用。
我公司生產的端蓋及緩沖器安裝于軌道兩端,避免滑車移出軌道。
技術參數:
產品名稱:四輪板式工具滑車產品型號:ZT-BLSG40 65 80
ZT型軌道平移滑車裝置時我公司參考國外先進工藝,根據我國眾多廠家實際使用情況而研制改進的一種國際流行的輕型物料懸掛輸送系統。它是以各種聯接件將軌道安裝在工作框架上,通過軌道內的滑車運行來實現物料的懸掛和移動。
該滑車裝置適用于汽車、家用電器、機械制造等行業的流水線生產,特別是在汽車焊裝和總裝線上有著廣泛的應用。
我公司生產的四輪板式工具滑車,主要用于物件的懸掛、移動,在汽車行業主要電纜的懸掛。
技術參數:

|

產品名稱:兩輪板式工具滑車
產品型號:ZT-BLEG40 65 80
ZT型軌道平移滑車裝置時我公司參考國外先進工藝,根據我國眾多廠家實際使用情況而研制改進的一種國際流行的輕型物料懸掛輸送系統。它是以各種聯接件將軌道安裝在工作框架上,通過軌道內的滑車運行來實現物料的懸掛和移動。
該滑車裝置適用于汽車、家用電器、機械制造等行業的流水線生產,特別是在汽車焊裝和總裝線上有著廣泛的應用。
我公司生產的兩輪板式工具滑車,用于物件的懸掛、移動。
技術參數:
|
|
|